TV Helpdesk Forum

Das TV Forum - VON KUNDEN FÜR KUNDEN
Kabel Helpdesk Kabel Helpdesk besuchen
Vodafone-Kabel-Forum Vodafone-Kabel-Forum
Aktuelle Zeit: Do 1. Jan 2026, 14:39

Alle Zeiten sind UTC + 1 Stunde [ Sommerzeit ]




Ein neues Thema erstellen Auf das Thema antworten  [ 7 Beiträge ] 
Autor Nachricht
 Betreff des Beitrags: Neue DVB-C Verkabelung
BeitragVerfasst: Mo 30. Jan 2017, 23:41 
Offline
Newbee
Newbee

Registriert: Mo 30. Jan 2017, 23:38
Beiträge: 1
Geschlecht:
Bundesland: Baden-Württemberg
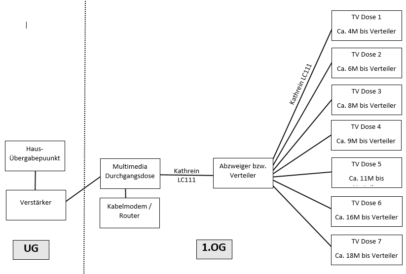
Hallo zusammen,

ich bin neu hier und hoffe ich habe das richtige Forum für meine Frage gewählt.

Und zwar geht es darum, dass wir in Kürze unsere Wohnung mit der Antennenverkabelung neu ausstatten werden.
Es handelt sich um einen kompletten Neubau in einem 4-Familien Haus.

Im Keller ist der Haus-Übergabepunkt und der Verstärker.
Anbieter ist Kabel-BW.
Der Elektriker legt mir ein Kabel vom Verstärker in meine Wohnung. So und ab hier wird es nun spannend.

Ich habe mich mal durch die FAQ's gelesen und mich etwas schlau gemacht. Dabei raus gekommen ist folgende Struktur (siehe Anhang).

Alle Dosen werden einzeln angefahren, sprich in Stichleitungen.

7 Dosen werden in den Zimmern verteilt und zusätzlich kommt in der Absbtellkammer noch eine Multimedia Dose für das Kabel-Modem, bzw. den Kabel.Router.

Zum Einsatz kommt in meiner Wohnung ein Kathrein LC111 Kabel. Die Frage ist nun welche Dosen und welcher Abzweiger (bzw. Verteiler) sollte hier zum Einsatz kommen?

Die Längen der Kabel habe ich mal zu den Dosen mit dazu geschrieben.

Danke & Gruß


Dateianhänge:
Antennen-Installation.PNG
Antennen-Installation.PNG [ 30.86 KiB | 5001-mal betrachtet ]
Nach oben
 Profil  
Mit Zitat antworten  
 Betreff des Beitrags: Re: Neue DVB-C Verkabelung
BeitragVerfasst: Di 31. Jan 2017, 02:40 
Offline
Kabelspezialist
Kabelspezialist

Registriert: Fr 14. Jan 2011, 23:31
Beiträge: 852
Geschlecht:
vr#46 hat geschrieben:
Und zwar geht es darum, dass wir in Kürze unsere Wohnung mit der Antennenverkabelung neu ausstatten werden.
Es handelt sich um einen kompletten Neubau in einem 4-Familien Haus.


Ohne die Hausverteilung zu kennen und zu wissen, mit welchen Pegeln gearbeitet wird, ist alles mehr oder weniger Spekulation.
Darüber hinaus gibt es keine DVB-C Verkabelung. DVB-C ist ein Übertragungsprotokoll und hat nichts mit der Leitungsverlegung zu tun.

Zitat:
Im Keller ist der Haus-Übergabepunkt und der Verstärker.


Ist bereits eine rückwegfähige Multimedia-Installation vorhanden? Wenn ja, wie sieht diese aus?

Zitat:
Anbieter ist Kabel-BW.


Das schließe ich mit 100%iger Sichrheit aus.

Zitat:
Der Elektriker legt mir ein Kabel vom Verstärker in meine Wohnung. So und ab hier wird es nun spannend.

Ich habe mich mal durch die FAQ's gelesen und mich etwas schlau gemacht. Dabei raus gekommen ist folgende Struktur (siehe Anhang).

Alle Dosen werden einzeln angefahren, sprich in Stichleitungen.


Wer hat das so verbrochen? Warum liegt die MMDo vor der weitergehenden Struktur?

Zitat:
Zum Einsatz kommt in meiner Wohnung ein Kathrein LC111 Kabel. Die Frage ist nun welche Dosen und welcher Abzweiger (bzw. Verteiler) sollte hier zum Einsatz kommen?


Das hängt vom Pegel ab, der von der eigentlichen Hausverteilung her kommt. Möglicherweise geht das ohne Verstärker gar nicht. Ist der Pegel hoch genug, kann es durchaus funktionieren. Was soll da nun hin, Verteiler oder Abzweiger? Ich würde einen 8-fach Verteiler setzen und alle Dosen als Multimediadosen ausführen. Zum einen hat man keine Probleme mit dem Rückweg und wer sagt, dass an eine der TV-Dosen nicht mal ein rückwegfähiges Endgerät angeschlossen werden soll, unabhängig vom Kabelmodem. Das Problem ist hier, dass ein 8-fach Verteiler ca. 11 dB Dämpfung besitz und somit bis zur Dose über 20 dB verbraten werden. Ohne da die konkrete Signalsituation vor Ort zu kennen, wird es problematisch. Bei einem geringen ankommenden Pegel oder gar einer Stichleitung kommt man um einen Verstärker gar nicht herum.

Zitat:
Die Längen der Kabel habe ich mal zu den Dosen mit dazu geschrieben.


Diese Längen kann man absolut vernachlässigen. Die einzige Länge, welche vieleicht interessant wäre, ist die der Wohnungszuleitung.

MfG


Nach oben
 Profil  
Mit Zitat antworten  
 Betreff des Beitrags: Re: Neue DVB-C Verkabelung
BeitragVerfasst: Sa 4. Feb 2017, 09:57 
Offline
Fortgeschritte/r
Fortgeschritte/r

Registriert: Fr 14. Jan 2011, 18:40
Beiträge: 185
Geschlecht: männlich
Bundesland: Baden-Württemberg
Also ich persönlich würde nicht vom Verstärker durch die Multimediadose zum Verteiler gehen sondern direkt.

Ich mag einfach keine Durchgangsdosen....

_________________
Bild


Nach oben
 Profil  
Mit Zitat antworten  
 Betreff des Beitrags: Re: Neue DVB-C Verkabelung
BeitragVerfasst: Sa 4. Feb 2017, 19:34 
Offline
Einsteiger/in
Einsteiger/in

Registriert: Do 21. Jan 2016, 19:07
Beiträge: 47
Geschlecht:
Bundesland: Hessen
Hemapri hat geschrieben:
vr#46 hat geschrieben:
Ich würde einen 8-fach Verteiler setzen und alle Dosen als Multimediadosen ausführen.

Nein, Abzweiger. Der Router wird sicher auch in der Abstellkammer stehen daher auch nur hier eine MMD.

Lutz


Nach oben
 Profil  
Mit Zitat antworten  
 Betreff des Beitrags: Re: Neue DVB-C Verkabelung
BeitragVerfasst: Sa 4. Feb 2017, 19:39 
Offline
Einsteiger/in
Einsteiger/in

Registriert: Do 21. Jan 2016, 19:07
Beiträge: 47
Geschlecht:
Bundesland: Hessen
vr#46 hat geschrieben:
Der Elektriker legt mir ein Kabel vom Verstärker in meine Wohnung.

Und ein 4 mm² von der HauptErdungsSchiene bzw. UnterVerteilung für den Potenzialausgleich der Wohnungsverteilung.

vr#46 hat geschrieben:
Zum Einsatz kommt in meiner Wohnung ein Kathrein LC111

Hoffentlich nach DIN in Rohr. BTW: Netzwerk würde ich dann gleich mit installieren lassen.

Lutz


Nach oben
 Profil  
Mit Zitat antworten  
 Betreff des Beitrags: Re: Neue DVB-C Verkabelung
BeitragVerfasst: So 5. Feb 2017, 01:23 
Offline
Kabelspezialist
Kabelspezialist

Registriert: Fr 14. Jan 2011, 23:31
Beiträge: 852
Geschlecht:
elo22 hat geschrieben:
Nein, Abzweiger. Der Router wird sicher auch in der Abstellkammer stehen daher auch nur hier eine MMD.


Das kommt darauf an, ob es nur Stichdosen geben soll. In dem Fall wäre ein 8-fach TAB gerechtfertigt. Man kann die Sache ja auch weiter spinnen: UM lässt hier nur einen einzigen Typ entsprechend Materialliste zu und zwar den "Technetix XQT-TP2-8". Ich würde persönlich genau dieses Teil nehmen und dann acht MM-Stichdosen dran, inklusive eine in der Abstellkammer.

MfG


Zuletzt geändert von Hemapri am Di 7. Feb 2017, 02:44, insgesamt 1-mal geändert.

Nach oben
 Profil  
Mit Zitat antworten  
 Betreff des Beitrags: Re: Neue DVB-C Verkabelung
BeitragVerfasst: Mo 6. Feb 2017, 17:44 
Offline
Einsteiger/in
Einsteiger/in

Registriert: Do 21. Jan 2016, 19:07
Beiträge: 47
Geschlecht:
Bundesland: Hessen
Hemapri hat geschrieben:
elo22 hat geschrieben:
Nein, Abzweiger. Der Router wird sicher auch in der Abstellkammer stehen daher auch nur hier eine MMD.

UM lässt hier nur einen einzigen Typ entsprechend Materialliste zu und zwar den "Technetix XQT-TP2-8".

Danke, wieder was gelernt.

Lutz


Nach oben
 Profil  
Mit Zitat antworten  
Beiträge der letzten Zeit anzeigen:  Sortiere nach  
Ein neues Thema erstellen Auf das Thema antworten  [ 7 Beiträge ] 

Alle Zeiten sind UTC + 1 Stunde [ Sommerzeit ]


Wer ist online?

Mitglieder in diesem Forum: 0 Mitglieder und 5 Gäste


Du darfst keine neuen Themen in diesem Forum erstellen.
Du darfst keine Antworten zu Themen in diesem Forum erstellen.
Du darfst deine Beiträge in diesem Forum nicht ändern.
Du darfst deine Beiträge in diesem Forum nicht löschen.
Du darfst keine Dateianhänge in diesem Forum erstellen.

Suche nach:
Gehe zu:  
Impressum

Datenschutz EU-DSGVO

Powered by phpBB® Forum Software © phpBB Group
Deutsche Übersetzung durch phpBB.de